US9280157B2: System and method for transporting personnel within an active workspace:Always mount a scratch monkey.
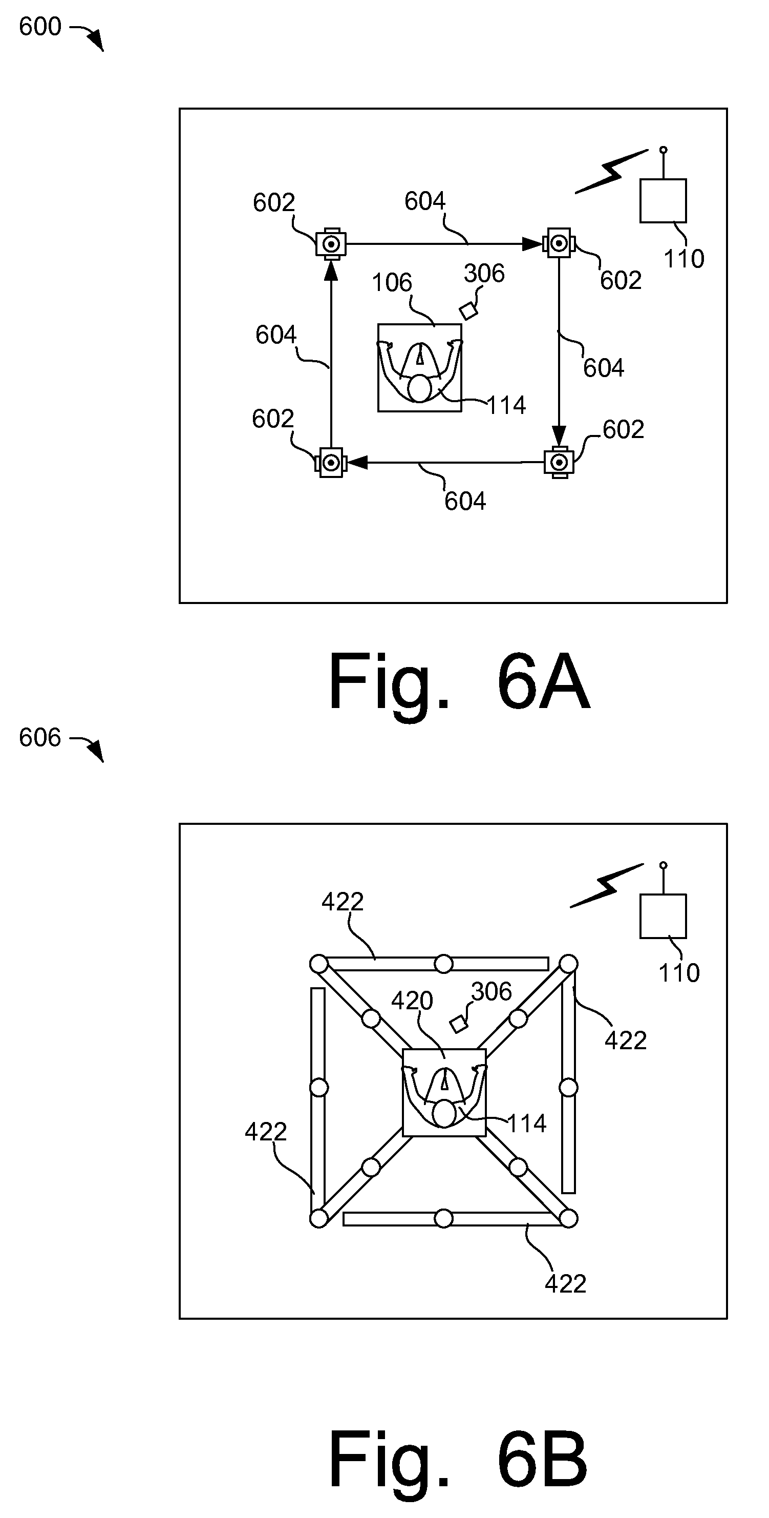
It depicts a metal cage intended for the worker, equipped with different cybernetic add-ons, that can be moved through a warehouse by the same motorized system that shifts shelves filled with merchandise. Here, the worker becomes a part of a machinic ballet, held upright in a cage which dictates and constrains their movement.
As we have seen time and time again in the research for our map, dystopian futures are built upon the unevenly distributed dystopian regimes of the past and present, scattered through an array of production chains for modern technical devices. The vanishingly few at the top of the fractal pyramid of value extraction live in extraordinary wealth and comfort. But the majority of the pyramids are made from the dark tunnels of mines, radioactive waste lakes, discarded shipping containers, and corporate factory dormitories.
Previously, previously, previously, previously, previously, previously, previously, previously, previously, previously, previously.

This is a terrific evocation of Semiotext(e) from years past. But it obscures the cage's traditional role as a Damn Good Idea in certain industrial contexts, which didn't originate with (certainly evil) Amazon.com. Consider a grim meathook present where Amazon.com possibly doesn't provide a cage within their active workspace.
WHO RUNS BARTERTOWN? BEZOS RUNS BARTERTOWN!
Previously.
Cars can transport people in an active workspace. Motorcyclists call cars "cages." Prior art?
You're kidding, right? You've got to be kidding.
Cager spotted.
Divers use shark cages as active workspaces. Because, sharks.
Maybe there's a submarine patent...
Combine this with the patent below (US Patent 10049419B1: The Fu...) and you have the future of the entire prison-industrial complex.
And so, we start down the path towards eventually becoming Daleks. At some point, the man and the cage will no longer be separable...
Aside from Amazon's lust for patents, why even bother to put a human in this thing in the first place? The main image shows an arm/waldo/grappler device, why not control that remotely? With a decent internet connection you could even do a shift from home. Mechanical Turk comes to the warehouse! Make your purchase by spending pieces of your life!
Then you have a device that can be smaller, operate in a wider range of temperatures and accelerate at rates potentially injurious to humans.
Perhaps manual dexterity and response time is a requirement? Present the captive massively parallel pattern matching biosystem with a box of items and require it to select the pictured item within [n] milliseconds? And since you're locked in a box off in a far corner of the warehouse they don't have to listen to you beg for bathroom breaks -- adult diapers for everybody!
A cautionary tale about things like this, originally from 2003: Marshall Brain's Manna.
Somehow your question reminded me of another cautionary tale, Asimov's The Feeling Of Power.
Am I the only one who thinks the next step should be a toilet plunger and synthesizer screaming "EXTERMINATE THE WORKPLACE INEFFICIENCY! EXTERMINATE!"?
no, the next step should be a toilet so they don't have to piss into plastic bottles anymore while fetching your trinkets. then you can have your dalek plunger.
What about it? It's protection while walking around lots of robots. Kind of basic but nothing ominous there.
Caged boxing matches beat forklift races anyday